欢迎访问北京强企知识产权研究院!
狠起来连自己都“抄”!——浅析企业防御性注册的必要性与困境
来源:IPRdaily 日期:2023/02/10 浏览量:1659
“防御性注册作为一种常见的知识产权保护手段早自多年前起就已被各大企业所采用,且至今仍在大规模使用当中。”

来源:IPRdaily中文网(iprdaily.cn)
作者:曹敏 林达刘知识产权

近年来,“哇哈哈”、“哈哈娃”、“哈娃娃”、“海底手捞”、 “悔里捞”等一些商标申请层出不穷,这些名称乍一听一股浓郁的“山寨风”扑面而来。实则不然,这些都是品牌正主为保护品牌进行的防御性注册申请实例。


有关各大知名品牌“自我山寨”的背景


所谓防御性注册,是指商标权人注册的与其商标相同或近似的一系列商标。具体而言主要分为两类:

1)在权利人注册商标的不同商品或服务类别注册相同商标;
2)在权利人注册商标的相同类别注册与其商标音同、形似等的相似商标。

注册防御性商标的目的,是为了加大对企业有影响力的商标的保护,维护其商誉和品牌形象,避免不必要的损失及争端。[1]

防御性注册作为一种常见的知识产权保护手段早自多年前起就已被各大企业所采用,且至今仍在大规模使用当中。部分具体案例如下:

◆杭州娃哈哈集团有限公司名下“哇哈哈”系列商标部分注册申请情况[2]

图片
图片
图片

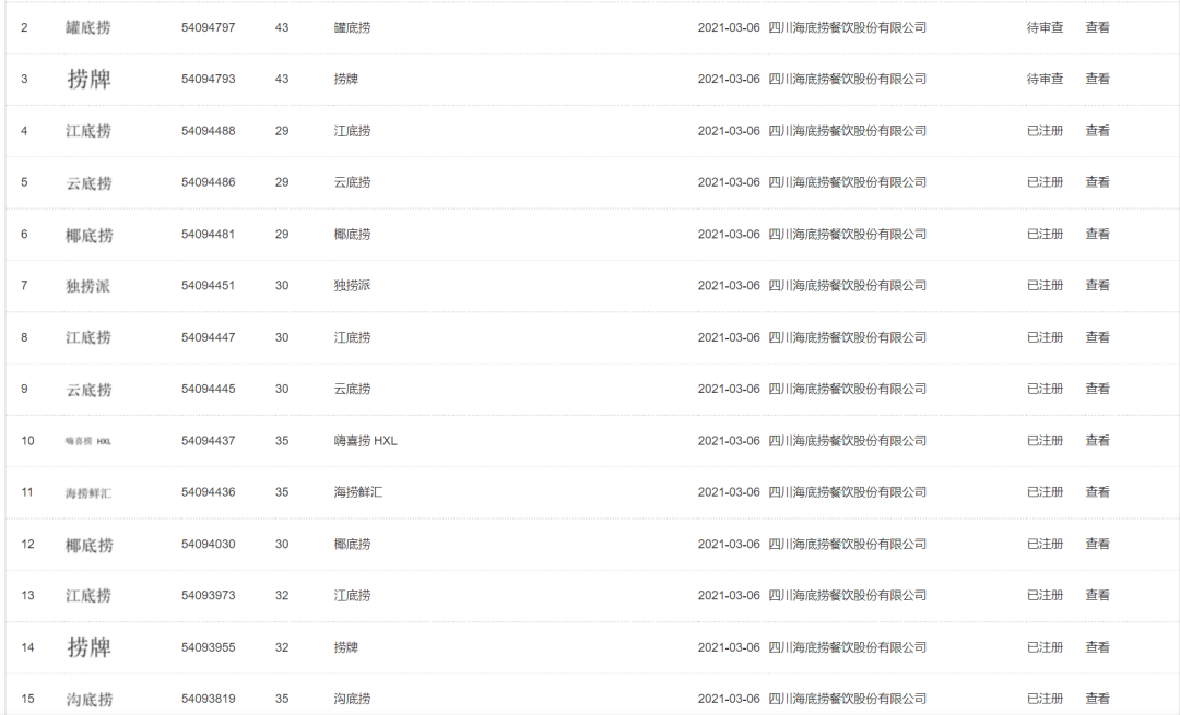
◆四川海底捞餐饮股份有限公司名下“捞”系列商标部分注册申请情况[3]

图片
图片

如上数据不难看出,企业大多会采取主动注册与其核心品牌相似的商标来扩大其品牌的保护范围。例如杭州娃哈哈集团有限公司更是早自上世纪90年代起就开始注册与其主打品牌“娃哈哈”相近似的“哇哈哈”、“哈哈娃”等品牌,且至今仍在申请当中。而知名餐饮品牌“海底捞”同样不甘示弱,近年来也是花样百出地进行“自我山寨”式地大规模防御性注册。

防御性注册的必要性及优势


从全世界范围来看取得商标权的方式主要有两种:一种是使用取得,即通过实际使用获得商标权;另一种是登记取得,即通过向商标管理部门递交申请,经登记后取得商标权。我国采取的是登记获得商标权的制度。若直接拥有商标专用权对品牌维护、精准打击侵权行为来说无疑是十分有效的。反之,若企业没有对应的注册商标,那么维权之路可谓漫长艰辛无比,同时还伴随着高额的成本投入。例如,(2019)湘0103民初7568号一案中,“海底捞”(四川海底捞餐饮股份有限公司)诉“河底捞”(长沙市雨花区河底捞餐馆),请求判令其停止商标侵权行为并予以经济赔偿,但法院认定二者不构成近似商标,且实际提供的餐饮服务存在一定区别驳回了“海底捞”的诉讼请求。[4]

基于上述事实可见,防御性注册相对于出现问题后的诉讼维权行为确实是一种相对低成本的前瞻性品牌建设布局措施,所谓“市场未动,商标先行”也是这样一个道理。防御性注册对于防范商标被恶意抢注、打击“傍名牌、搭便车”行为、完善品牌保护战略等有着积极的作用。

防御性注册面临的困境


1)注册成功可能性的降低及注册成本的提高



众所周知,随着时代的发展,企业、个人对知识产权的保护愈发重视。根据国家知识产权局统计,截至2022年我国有效商标注册量高达4267.2万件,以2021年为例,当年商标注册量为773.9万件,同比增加34.3%,商标注册审查签发量中驳回和部分驳回占全部申请的43%[5],也就是说有将近一半的商标申请都被驳回。且2021年国家知识产权局共受理驳回复审申请38.3万件[6],而目前审结的商标驳回复审案件中,全部或部分初步审定只占33.13%[7]。由于在先商标数量庞大,后续防御性注册因相同、近似在先商标的存在而被驳回的可能性大幅上升,且复审难度整体增加。

此外,根据《商标审查审理指南2021》第19章的规定,在审查过程中,商标注册部门认为商标注册申请内容需要说明或者修正的,可以通过发出审查意见书的形式,要求申请人做出说明或者修正。例如“涉嫌不以使用为目的的恶意商标注册申请,可以要求申请人就申请注册商标意图及使用情况作出说明。”[8]

目前在实务中,也有越来越多商标申请人收到国家知识产权局基于商标法四条一款发出的审查意见书。

图片

例如,武汉某公司申请了61件“省市简称+了个牛”商标,经审理,国知局发出审查意见书。申请人在回文中提供的证据仅对其申请注册的 “汉了个牛”商标做出相关说明,并未就其该批次其他“简称+了个牛”形式的商标提供证据材料,且申请人自述表示申请“省市简称+了个牛”无法全部一次性使用……对这些商标提供注册申请完全是为了其主品牌“汉了个牛”提供保护的防御性注册。最终,该申请人被认定为不以使用为目的恶意申请注册商标,适用《商标法》第四条第一款予以驳回。[9]

另一方面,根据商标大数据专业检索及智能分析平台——摩知轮中有关2020~2022年间基于商标法第四条“不以使用为目的的恶意申请”被驳回后的复审结果统计数据可知,驳回复审中能够克服第四条“不以使用为目的的恶意申请”的成功率极低,仅占到15.2%。

图片

注:上表中“复审成功”是指“评审认定复审商标未构成《商标法》第四条第一款规定的情形”;“复审失败”是指“评审认定复审商标构成《商标法》第四条第一款规定的情形”。[10]

如上随着商标申请数量迅猛增加以及商标审查各环节逐渐趋严的趋势,与之相对注册成本却因多出的商标审查意见书回文、驳回复审等程序在提升。防御性注册的成本在逐渐增加。


2)注册后的商标权利维持以及衍生出的品牌淡化问题



根据《商标法》第 49 条第二款规定,注册商标无正当理由连续三年未在其核准使用的商品或服务类别上使用,任何单位和个人即可申请撤销该注册商标。而防御性商标大多由于数量庞大或者与企业主推产品、服务差距较大实际上并不会被投入使用,这样一来就增加了其注册因不使用被撤销的风险。

但反之,一旦防御性注册的商标大批量投入使用,例如“老干妈”相关的“老姨妈”、“老千妈”,“娃哈哈”相关的“哈娃娃”,“海底捞”相关的“江底捞”等,无疑会稀释淡化其主品牌的知名度,整体来看反而对于高知名度品牌的打造有一定的负面影响。

防御性注册又该何去何从


结合上文提到的“防御性注册”的必要性和困境,“防御性注册”的未来值得我们仔细商榷。笔者认为,作为商标战略布局的前瞻性保护措施,防御性注册是不可或缺的一环,但考虑到目前的审查趋势,可以适当控制防御性注册的范围,具体来说就是1)控制指定商品/服务的范围和2)控制商标标识的种类,在切实必要的范围内进行防御性注册。

尤其是上述第1)种控制防御性注册的指定商品/服务范围,也即针对指定商品/服务需有明确的商业发展规划或与申请人主营业务存在密切关系,从而使得防御性注册具有合理性。上文第三部分虽然提到的驳回复审中能够克服第四条“不以使用为目的的恶意申请”的成功率较低,但根据复审成功的实例可知该操作确实有效。

申请人虽在多个类别商品和服务上申请注册1190余件商标,但根据申请人提交的证据及我局审理查明事实,其作为一家以游戏研发、运营、衍生品开发为主营业务的企业,将旗下游戏名称、游戏衍生项目品牌等在其主要业务及周边产品上作为商标注册申请,符合行业特点及正常经营活动所需,并未违反《商标法》第四条第一款之规定。

——关于第54400979号“泰拉记事社”商标驳回复审决定书[11]
申请人复审的主要理由:申请人的“瓜瓜龙”及“瓜瓜龙”对应图形标识等系列商标经过长期使用和宣传,已经在培训领域具有极高知名度,申请人对于申请商标“瓜瓜龙”是以实际使用及防御为目的申请注册,不存在主观上的恶意,申请商标不应被认定违反《商标法》第四条第一款的规定。

……

经复审认为,申请人提交的证据可以证明申请商标不属于不以使用为目的的恶意商标注册申请,未违反《商标法》第四条第一款的规定。
——关于第55185092号“瓜瓜龙 Hi及图”商标驳回复审决定书[12]
申请人复审的主要理由:(前略)五、申请人“瓜瓜星球”等系列商标经长期使用和宣传,已在教育培训、智能软硬件等领域具有极高知名度。六、与本案情形类似的商标已被认定未违反商标法第四条的规定。(后略)

……

申请人向我局提交的证据未有效体现申请商标在指定商品上的使用情况,亦不能证明申请商标在指定商品上具有实际使用的意图,故不能证明申请商标具有可注册性。
——关于第56324505号“瓜瓜星球”商标驳回复审决定书[13]

如上表中第55185092号“瓜瓜龙 Hi及图”商标(42类)与第56324505号“瓜瓜星球”商标(31类)同属一个申请人——北京有竹居网络技术有限公司名下,两件驳回复审理由中都提及了相关商标在教育培训领域的高知名度,42类复审成功,而31类却被审查员指出申请人提交的证据材料与指定商品欠缺关联性进而仍被认定为“构成《商标法》第四条第一款所指情形”。这也进一步证明了合理布局防御性注册的指定商品/服务范围的可行性。

目前,强化商标使用义务、引导商标注册回归制度本源已是大势所趋。因此各企业还是应该把重点放在打造核心品牌之上,可以通过合理利用防御性注册商标对核心品牌形成众星拱月之势,打造系列品牌的同时着重突出核心品牌的重要地位。



参考文献&数据来源:

[1]袁 佩 《浅析商标撤销制度下的防御性商标》2019年8月
[2]2023.01.06 标库网中有关“杭州娃哈哈集团有限公司”名下商标的检索结果https://www.tmkoo.com/searchmore/sqr!view.php?sqrmcZw=%E6%9D%AD%E5%B7%9E%E5%A8%83%E5%93%88%E5%93%88%E9%9B%86%E5%9B%A2%E6%9C%89%E9%99%90%E5%85%AC%E5%8F%B8&idCardNo=0
[3]2023.01.06 标库网中有关“四川海底捞餐饮股份有限公司”名下商标的检索结果
https://www.tmkoo.com/searchmore/sqr!view.php?sqrmcZw=%E5%9B%9B%E5%B7%9D%E6%B5%B7%E5%BA%95%E6%8D%9E%E9%A4%90%E9%A5%AE%E8%82%A1%E4%BB%BD%E6%9C%89%E9%99%90%E5%85%AC%E5%8F%B8&idCardNo=0
[4](2019)湘0103民初7568号 四川海底捞餐饮股份有限公司与长沙市雨花区河底捞餐馆侵害商标权纠纷一审民事判决书
[5]《国家知识产权局2021年度报告》第a26页
[6]《国家知识产权局2021年度报告》第a27页
[7]《标库网》数据库 商评委/商标局评审文书 业务统计 截至2023.1.6
https://www.tmkoo.com/spw-ws!chartShowCW.php
[8]《商标审查审理指南2021》第373~375页
[9]邹婷 《商标是拿来用的,不是用来炒的》 2021年8月25日
[10]2023.01.09 2020~2022年间“摩知轮”平台上基于商标法第四条“不以使用为目的的恶意申请”被驳回后的复审结果数据来源
https://www.mozlen.com/admincase
[11]关于第54400979号“泰拉记事社”商标驳回复审决定书 商评字[2022]第0000342227号
[12]关于第55185092号“瓜瓜龙 Hi及图”商标驳回复审决定书 商评字[2022]第0000351124号
[13]关于第56324505号“瓜瓜星球”商标驳回复审决定书 商评字[2022]第0000325946号
010-57297529